??? Switch ?????????????????????????????“Gamevice”?????????????????????“?????”?
Gamevice ????????????“??? Switch ??????????????????????????????”?
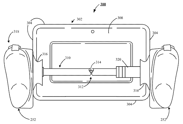
???Gamevice ?????????“Combination computing device and game controller with flexible bridge section(???????????????????)”????????????????????
Gamevice ?????????? Switch ??????????????? Switch ????????????????
??????????Gamevice ????????????Mashable??? Gamevice ????? Switch ????????????? Switch ????????????“?”??????“????”?
??????????Gamevice ??2012?????????????????????? Wikipad?????????????6?????
???????????????????????
????????????? Switch ????????????????????????????????????
回复意见




